千红制药晚间公告,股东赵刚及其一致行动人建信基金-赵人谊-建信鑫享1号单一资产管理计划A股策略,计划以集中竞价方式和大宗交易方式减持公司股份不超过2090万股(占公司目前总股本比例1.63%,占公司剔除回购专用账户持股数量的总股本比例1.67%)。
举报 第一财经广告合作,请点击这里此内容为第一财经原创,著作权归第一财经所有。未经第一财经书面授权,不得以任何方式加以使用,包括转载、摘编、复制或建立镜像。第一财经保留追究侵权者法律责任的权利。如需获得授权请联系第一财经版权部:banquan@yicai.com 相关阅读
主力今日尾盘买卖这些个股主力今日尾盘买卖这些个股
0 08-01 16:10
中际旭创:参投基金持有宇树科技部分股份A股策略中际旭创:参投基金持有宇树科技部分股份
0 07-27 23:09
31只个股5日量比超过5倍31只个股5日量比超过5倍
0 06-25 15:16
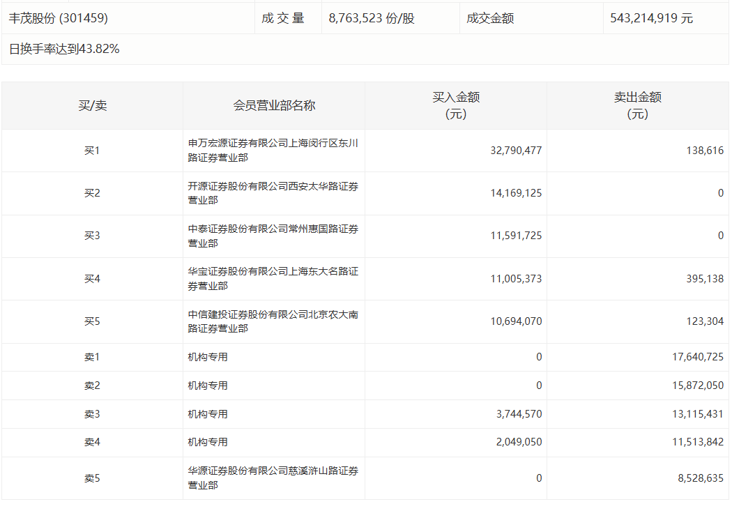
丰茂股份今日涨停 机构专用席位净卖出5234.84万元丰茂股份今日涨停 机构专用席位净卖出5234.84万元
0 05-19 16:37
猿辅导回应网传武汉员工猝死事件A股策略猿辅导回应网传武汉员工猝死事件
83 04-25 11:08 一财最热 点击关闭久联优配提示:文章来自网络,不代表本站观点。